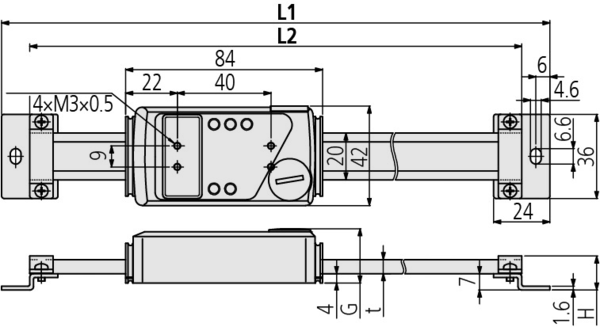
Mitutoyo ABS Digimatic Scale Unit 450 mm, Vertical 572-564

MitutoyoSKU: 572-564

All prices exclude VAT, which will be added at checkout.

Price:
Sale price£532.00 Regular price£725.00

Description

Related Products

Recently viewed