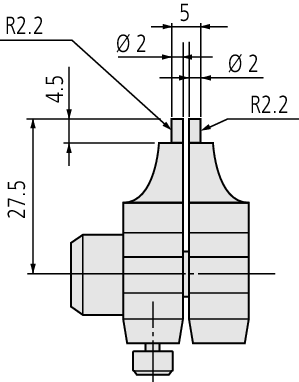
Mitutoyo Caliper Jaw Inside Micrometer .2-1.2" 145-193

MitutoyoSKU: 145-193

All prices exclude VAT, which will be added at checkout.

Price:
Sale price£212.00 Regular price£289.00

Description

Related Products

Recently viewed