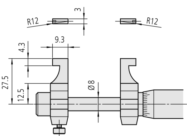
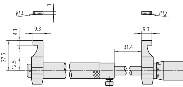
Mitutoyo Caliper Jaw Inside Micrometer 3-4" 145-196

MitutoyoSKU: 145-196

All prices exclude VAT, which will be added at checkout.

Price:
Sale price£248.00 Regular price£338.00

Description

Related Products

Recently viewed